浇注系统是指熔融塑料从注射机喷嘴到注射模具型腔所流经的通道,分普通浇注系统和热流道浇注系统两种。通过浇注系统,塑料熔体充填满模具型腔并且使注射压力传递到型腔的各个部位,从而使塑件密实和防止缺陷的产生。通常情况下,浇注系统的分流道开设在动定模的分型面上,因此,分型面的选择和浇注系统的设计是密切相关的,在设计注射模具时应同时加以考虑。
5-2-1 普通流道浇注系统的设计
5-2-1-1 普通流道浇注系统的组成及设计原则
一 普通流道浇注系统的组成
浇注系统是指熔融塑料从注射机喷嘴进入模具型腔所流经的通道,分普通浇注系统和热流道浇注系统两种形式。本节只讨论普通浇注系统的设计。
普通浇注系统一般由主流道、分流道、浇口和冷料穴等四部分组成。图5-2-1所示为安装在卧式或立式注射机上的注射模所用浇注系统,亦称为直浇口式浇注系统,其主流道垂直于模具分型面;图5-2-2所示为安装在角式注射机上的注射模所用浇注系统,也称为横浇口式浇注系统,其主流道平行于模具分型面。

图5-2-1 卧式或立式注射机用注射模的浇注系统 图5-2-2 角式注射机用注射模的浇注系统
1-型芯;2-塑件;3-浇口;4-分流道 1-主流道;2-分流道;3-浇口
5-冷料穴;6-主流道;7-浇口套;8-拉料杆 4-冷料穴;5-型腔
二 普通流道浇注系统设计原则
浇注系统的设计是模具设计的一个重要环节,设计合理与否对塑件的性能、尺寸、内外部质量及模具的结构、塑料的利用率等都有较大影响。在进行浇注系统设计时,一般应遵循如下基本原则:
1. 了解塑料的成型性能
注射成型时注射机料筒中塑料已成熔融状态(粘流态),因此了解被成型的塑料熔体的流动特性、温度、剪切速率对粘度的影响等十分重要,设计的浇注系统一定要适应于所用塑料的成型性能,以保证成型塑件的质量。
2. 尽量避免或减少产生熔接痕
在选择浇口位置时,应注意避免熔接痕的产生。熔体流动时应尽量减少分流的次数,因为分流熔体的汇合处必然会产生熔接痕,尤其在流程长、温度低时对塑件熔接强度的影响更大。
3. 有利于型腔中气体的排出
浇注系统应能顺利地引导塑料熔体充满型腔的各个部位,使浇注系统及型腔中原有的气体能有序地排出,避免因气体积存而产生凹陷等缺陷。
4. 防止型芯的变形和嵌件的位移
浇注系统设计时应尽量避免塑料熔体直接冲击细小型芯和嵌件,以防止熔体的冲击力使细小型芯变形或嵌件位移。
5. 尽量采用较短的流程充满型腔
在选择浇口位置的时候,对于较大的模具型腔,要力求以较短的流程充满型腔,使塑料熔体的压力损失和热量损失减小到最低限度,以保持较理想的流动状态和有效地传递最终压力,保证塑件良好的成型质量。
6. 流动距离比的校核
对于大型或薄壁塑件,塑料熔体有可能因流动距离过长或流动阻力太大而无法充满整个型腔。因此,在进行模具设计中,除了要考虑采用较短的流程外,还应对注射成型时的流动距离比进行校核,以避免型腔充填不足的现象。
流动距离比简称流动比,它是指塑料熔体在模具中进行最长距离的流动时,其截面厚度相同的各段料流通道及各段型腔的长度与其对应截面厚度之比值的总和,即:
(5-2-1)
式中 φ——流动距离比;
Li——模具中各段料流通道及各段型腔的长度;
ti——模具中各段料流通道及各段型腔的截面厚度。
图5-2-3所示是注射模流动距离比求法的实例。

图5-2-3 流动距离比计算实例
图5-2-3a所示为侧浇口进料的塑件,其流动距离比
; (5-2-2)
图5-2-3b所示为点浇口进料的塑件,其流动距离比
。 (5-2-3)
在生产中影响流动距离比的因素较多,其中主要影响因素是塑料的品种和注射压力,此外还有熔体的温度、模具的温度和流道及型腔的粗糙度等,这些都需经大量实验才能确定。表5-2-1所列出的数值可供设计模具时参考。如果设计时计算出的流动距离比Φ大于表内数值,则注射成型时,在同样的压力条件下模具型腔有可能产生充填不足的现象。
表5-2-1 部分塑料的注射压力与流动距离比
塑 料 品 种 | 注射压力/MPa | 流动距离比 | 塑 料 品 种 | 注射压力/MPa | 流动距离比 |
聚乙烯(PE) | 49 68.6 147 | 140~100 240~200 280~250 | 聚苯乙烯(PS) | 88.2 | 300~260 |
聚醛(POM) | 98 | 210~110 | |||
聚丙烯(PP) | 49 68.6 117.6 | 140~100 240~200 280~240 | 尼龙6 | 88.2 | 320~200 |
聚碳酸脂(PC) | 88.2 117.6 127.4 | 130~90 150~120 160~120 | 尼龙66 | 88.2 127.4 | 130~90 160~130 |
软聚氯乙烯 (SPVC) | 68.6 88.2 | 240~160 280~200 | 硬聚氯乙烯 (HPVC) | 68.6 88.2 117.6 127.4 | 110~70 140~100 160~120 170~130 |
5-2-1-2 普通流道浇注系统主流道设计
主流道是指浇注系统中从注射机喷嘴与模具接触处开始到分流道为止的塑料熔体的流动通道,是熔料最先流经模具的部分,它的形状和尺寸对塑料熔体的流动速度和充模时间有较大的影响,因此,必须使熔体的温度降和压力损失最小。

1-定模座板;2-浇口套;3-注射机喷嘴
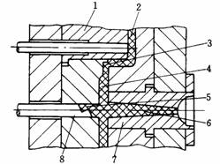
在卧式或立式注射机上使用的注射模中,主流道垂直于分型面,且通常设计在浇口套中,如图5-2-4所示。为了让主流道凝料能顺利地从浇口套中拔出,主流道须设计成圆锥形,锥角α为20~60,小端直径d比注射机喷嘴直径d1大0.5~1mm。主流道小端的前面是球面,其深度为3~5mm,注射机喷嘴的球面在该位置与模具接触并且贴合,因此要求主流道球面半径SR比喷嘴球面半径SR1大1~2mm。主流道的表面粗糙度Ra≤0.8μm。

图5-2-4 主流道形状及其与注射机喷嘴的关系
1-定模座板;2-浇口套;3-注射机喷嘴
浇口套一般采用碳素工具钢T8A、T10A等材料制造,热处理淬火硬度为53~57HRC其结构形式如图5-2-5所示。图5-2-5a所示是把浇口套与定位圈设计成整体式的形式,用螺钉固定于定模座板上(见图5-2-6a),一般只用于小型注射模;图5-2-5b和图5-2-5c所示为浇口套与定位圈设计成两个零件的形式,以台阶的形式固定在定模座板上(见图5-2-6b和图5-2-6c),其中图5-2-5c所示为浇口套穿过定模座板与定模板的形式,固定形式见图5-2-6c。

图5-2-5 浇口套的形式

图5-2-6 浇口套的固定形式
1-定模座板;2-浇口套;3-定位圈;4-定模板
浇口套与模板间的配合采用H7/m6的过渡配合,浇口套与定位圈之间采用H9/f9的间隙配合。定位圈的外径比注射机定模板上的定位孔径小0.2mm以下,在模具安装调试时,定位圈应插入注射机定模板的定位孔内,用于模具与注射机的安装定位。
角式注射机用注射模的浇注系统(见图5-2-2),其主流道平行于分型面,并且开设在分型面的两侧。主流道被设计成圆柱形,模具分型后与塑件一起留在动模,推出机构工作时与塑件一起被推出模外。其主流道与注射机的喷嘴接触部位被设计成平面或球面,为了减少注射过程中的变形与磨损,可以该部位模具上分型面两侧的动、定模板上镶入可更换的经过淬火处理的浇道镶块。
该文章所属专题:塑料模具设计教程
5-2-1-3 普通流道浇注系统分流道设计
分流道是指浇注系统中主流道末端与浇口之间的一段塑料熔体的流动通道。分流道的作用是改变塑料熔体流向,使其以平稳的流态均衡地分配到各个型腔。设计时应尽量减少塑料熔体流动过程中的热量损失与压力损失。
1. 分流道的形状与尺寸
分流道可开设在动、定模分型面的两侧或任意一侧,其截面形状应尽量使其比表面积(流道表面积与其体积之比)小,在温度较高的塑料熔体和温度相对较低的模具之间提供较小的接触面积,以减少热量损失。常用的分流道截面形式有圆形、梯形、U形、半圆形及矩形等几种,如图5-2-7所示。其中圆形截面的比表面积最小,但需开设在分型面的两侧,在制造时一定要注意模板上两部分形状对中吻合;梯形及U形截面分流道加工较容易,且热量损失与压力损失均不大,为常用的形式;半圆形截面分流道需用球头铣刀加工,其表面积比梯形和U形截面分流道略大;矩形截面分流道因其比表面积较大,且流动阻力也大,故在设计中不常采用。

图5-2-7 分流道的截面形状
分流道的截面尺寸视塑料品种、塑件尺寸、成型工艺条件以及流道的长度等因素来确定。
圆形截面分流道的直径为2~10mm。对流动性较好的尼龙、聚乙烯、聚丙烯等塑料,在分流道长度很短时,截面直径可小到2mm;对流动性较差的聚碳酸脂、聚砜等塑料,截面直径可大至10mm;对于大多数塑料,截面直径常取5~6mm。
梯形截面分流道的尺寸可按下面经验公式确定:
(5-2-4)
(5-2-5)
式中 b——梯形大底边宽度,mm;
m——塑件的质量,g;
L——分流道的长度,mm;
h——梯形的高度,mm。
梯形的侧面斜角α常取5°~10°,底部以圆角相连。式(5-2-6)的适用范围为塑件壁厚在3.2mm以下,塑件质量小于200g ,且计算结果b应在3.2~9.5mm范围内才合理。按照经验,根据成型条件不同,b也可在5~10mm范围内选取。
U形截面分道流的宽度b也可在5~10mm内选取,半径R=0.5b,深度h =1.25R,斜角α=5°~10°。
2. 分流道的长度
根据型腔在分型面上的排布情况,分道流可分为一次分流道、二次分流道甚至三次分流道。分流道的长度要尽可能短,且弯折要少,以便减少压力损失和热量损失,节约塑料的原材料和能耗。图5-2-8所示为分流道长度的设计参数尺寸,其中L1=6~10mm,L2=3~6mm,L3=6~10mm,L的尺寸根据型腔的多少和型腔的大小而定。
3. 分流道的表面粗糙度
由于分流道中与模具接触的外层塑料迅速冷却,只有内部熔体的流动状态比较理想,因此分流道表面粗糙度要求不能太低,一般Ra取1.6μm左右,这可增加对外层塑料熔体的流动阻力,使外层塑料冷却皮层固定,形成绝热层。
4. 分流道在分型面上的布置形式
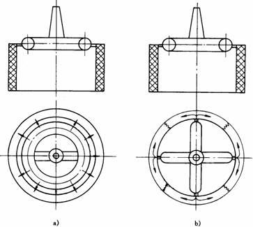
分流道在分型面上的布置形式有平衡式和非平衡式两种,这与型腔在分型面上的布置形式相一致。如果型腔呈圆形状分布,则分流道呈辐射状布置;如果型腔呈矩形状分布,则分流道一般采用“非”字状布置。虽然分流道有多种不同的布置形式,但应遵循两个原则:一个是排列应尽量紧凑,以缩小模板尺寸;另一个是流程尽量短,对称布置,使胀模力的中心与注射机锁模力的中心一致。

图5-2-8 分流道的长度尺寸
5-2-1-4 浇口的设计
一 浇口的分类
浇口亦称进料口,是指浇注系统中连接分流道与型腔的熔体通道。浇口的设计与位置的选择恰当与否,直接关系到塑料能否被完好地高质量地注射成型。
按浇口截面尺寸大小的结构特点,浇口可分为限制性浇口和非限制性浇口两大类。限制性浇口是整个浇注系统中截面尺寸最小的部位,通过截面积的突然变化,使分流道送来的塑料熔体产生突变的流速增加,提高剪切速率,降低粘度,获得理想的流动状态,从而迅速均衡地充满型腔;对于多型腔模具,调节浇口的尺寸,还可以使非平衡布置的型腔达到同时进料的目的,提高塑件的均一质量;同时在注射过程中,限制性浇口还起着较早固化防止型腔中熔体倒流的作用;成型后也便于塑件与整个浇注系统的分离。但是浇口尺寸过小会使压力损失增大,冷凝加快,补缩困难。非限制性浇口是整个浇口系统中截面尺寸最大的部位,它主要用于对大中型筒类、壳类塑件型腔引料和进料后的施压作用。
按浇口的结构形式和特点,常用的浇口可分为直接浇口、侧浇口和点浇口三大类。
二 直接浇口
直接浇口又称主流道型浇口,它属于非限制性浇口,如图5-2-9所示。塑料熔体由主流道的大端直接进入型腔,因而具有流动阻力小、流动路程短及补缩时间长等特点。由于注射压力直接作用在塑件上,故容易在进料处产生较大的的残余应力从而导致塑件翘曲变形。这种形式的浇口截面大,去除浇口比较困难,浇口去除后会留有较大的痕迹,影响塑件的美观。这类浇口大多用于注射成型大中型长流程深型腔筒形或壳形塑件,尤其适合于如聚碳酸脂、聚讽等高粘度塑料。
在设计直接浇口时,为了减小与塑件接触处的浇口面积,防止该处产生缩孔、变形等缺陷,一方面应尽量选用较小锥度的主流道锥角α(α=20~40),另一方面应尽量减少定模板和定模座板的厚度。
直接浇口的浇注系统有着良好的熔体流动状态,塑料熔体是从型腔底面中心部位流向分型面,有利于消除深型腔处气体不易排出的缺点,使排气通畅。这样的浇口形式,使塑件和浇注系统在分型面上的投影面积最小,模具结构紧凑,注射机受力均匀。但这种浇口形式只适于单型腔模具。
直接浇口派生出中心浇口和爪形浇口。
1、中心浇口
当筒类或壳类塑件的底部中心或接近于中心部位有通孔时,内浇口就可开设在该孔口处,同时在中心设置分流锥,这种类型的浇口称为中心浇口,如图5-2-10所示。中心浇口实际上是直接浇口的一种特殊形式,它具有直接浇口的一系列优点,而克服了直接浇口易产生的缩孔、变形等缺陷。中心浇口其实也是端面进料的环形浇口(下面介绍),在设计时,环形的厚度一般不小于0.5mm。当进料口环形的面积大于主流道小端面积时,浇口为非限制性浇口;反之,则为限制性浇口。

图5-2-9 直接浇口的形式 图5-2-10 中心浇口的形式
2、爪形浇口
爪形浇口如图5-2-11所示。它可在型芯的头部开设流道,如图5-2-11a所示;也可在主流道下端开设流道,如图5-2-11b所示。爪形浇口加工比较困难,通常用电火花成型。型芯可用作分流锥,其头部与主流道有自动定心的作用(型芯头部有一段与主流道下端大小一致)。爪型浇口的缺点与轮幅式浇口类似,主要适用于成型内孔较小且同轴度要求较高的细长管状塑件。

图5-2-11 爪形浇口的形式
该文章所属专题:塑料模具设计教程
三 侧浇口
侧浇口在国外称为标准浇口,如图5-2-12所示。侧浇口一般开设在分型面上,塑料熔体从内侧或外侧充填模具型腔,其截面形状多为矩形(扁槽形),改变浇口的宽度与厚度可以调节熔体的剪切速率及浇口的冻结时间。这类浇口可以根据塑件的形状选择其位置,加工和修整方便,因此它是应用较广泛的一种浇口形式,普遍用于中小型塑件的多型腔模具,且对各种塑料的成型适应性均较强。由于浇口截面小,因此去除浇口容易,且不留明显痕迹。但这种浇口成型的塑件往往有熔接痕存在,且注射压力损失大,对深型腔塑件的排气不利。
图5-2-12a为分流道、浇口、塑件在分型面同一侧的形式;图5-2-12b为分流道、浇口与塑件在分型面两侧的形式,浇口搭接在塑件上;图5-2-12c为分流道与浇口、塑件在分型面两侧的形式,浇口搭接在分流道上。设计时选择侧向进料还是端面进料,要根据塑件的具体形状而定。

图5-2-12 侧浇口的形式
侧浇口尺寸计算的经验公式如下:
(5-2-6)
(5-2-7)
式中 b——侧浇口的宽度,mm;
A——塑件的外侧表面积,mm2;
t——侧浇口的厚度,mm;
δ——浇口处塑件的壁厚,mm。
侧向进料的侧浇口(见图5-2-12a),对于中小型塑件,一般深度t=0.5~2.0mm(或取塑件壁厚的1/3~2/3),宽度b=1.5~5.0mm,浇口的长度l=0.7~2.0mm;端面进料的搭接式侧浇口(见图5-2-12b),搭接部分的长度l1=(0.6~0.9)+b/2mm,浇口长度l可适当加长,取l=2.0~3.0mm;侧面进料的搭接式侧浇口(见图5-2-12c),其浇口长度l可参考端面进料的搭接式侧浇口。
侧浇口派生出扇形浇口、平缝浇口、环形浇口和轮幅式浇口。
1、扇形浇口
扇形浇口是一种沿浇口方向宽度逐渐增加而厚度逐渐减小的呈扇形的侧浇口,如图5-2-13所示,常用于扁平而较薄的塑件,如盖板、标卡和托盘类等。通常在与型腔结合处形成长l=1~1.3mm、厚t=0.25~1.0mm的进料口,进料口的宽度b可视塑件的大小而定,一般取6mm到交口处型腔宽度的1/4,整个扇形的长度L可取6mm左右,塑料熔体通过它进入型腔。采用扇形浇口,可使塑料熔体在宽度方向上的流动得到更均匀的分配,塑件的内应力因之较小,还可避免流纹及定向效应带来的不良影响,减少带入空气的可能性,但浇口痕迹比较明显。

图5-2-13 扇形浇口的形式
2、平缝浇口
平缝浇口又称薄片浇口,如图5-2-14所示。这类浇口宽度很大,厚度很小,几何上成为一条窄缝,与特别开设的平行流道相连。熔体通过平行流道与窄缝浇口得到均匀分配,以较低的线速度平稳均匀地流入型腔,降低了塑件的内应力,减少了因取向而造成的翘曲变形。这类浇口的宽度b一般取塑件长度的25%~100%,厚度t=0.2~1.5mm,长度l=1.2~1.5mm。平缝浇口主要用来成型面积较大的扁平塑件,但浇口的去除比扇形浇口更困难,浇口在塑件上的痕迹也更明显。

图5-2-14 平缝浇口的形式
3、环形浇口
对型腔充填采用圆环形进料形式的浇口称环形浇口,如图5-2-15所示。环形浇口的特点是进料均匀,圆周上各处流速大致相等,熔体流动状态好,型腔中的空气容易排出,熔接痕可基本避免。图5-2-15a所示为内侧进料的环形浇口,浇口设计在型芯上,浇口的厚度t =0.25~1.6mm,长度l =0.8~1.8mm;图5-2-15b所示为端面进料的搭接式环形浇口,搭接长度l1=0.8~1.2mm,总长l=2~3mm;图5-2-15c为外侧进料的环形浇口,其浇口尺寸可参考内侧进料的环形浇口。实际上,前述的中心浇口也是一种端面进料的环形浇口。环形浇口主要用于成形圆筒形无底塑件,但浇注系统耗料较多,浇口去除较难,浇口痕迹明显。

图5-2-15 环形浇口的形式
4、轮幅式浇口
轮幅式浇口是在环形浇口基础上改进而成,由原来的圆周进料改为数小段圆弧进料,浇口尺寸与侧浇口类似,如图5-2-16所示。这种形式的浇口耗料比环形浇口少得多,且去除浇口容易。这类浇口在生产中比环形浇口应用立广泛,多用于底部有大孔的圆筒形或壳型塑件。图5-2-16a所示为内侧进料的轮幅式浇口;图5-2-16b所示为端面进料的搭接式轮幅式浇口。轮幅式浇口的缺点是增加了熔接痕,这会影响塑件的强度。
图5-2-16 轮幅式浇口的形式
四 点浇口
点浇口又称针点浇口或菱形浇口,是一种截面尺寸很小的浇口,俗称小浇口,如图5-2-17所示。这类浇口由于前后两端存在较大的压力差,可较大程度地增大塑料熔体的剪切速率并产生较大的剪切热,从而导致熔体的表观粘度下降,流动性增加,有利于型腔的充填,因而对于薄壁塑件以及诸如聚乙烯、聚丙烯等表观粘度随剪切速率变化敏感的塑料成型有利,但不利于成型流动性差及热敏性塑料,也不利于成型平薄易变形及形状非常复杂的塑件。
点浇口的设计形式有许多种。图5-2-17a所示为直接式,直径为d的圆锥形的小端直接与塑件相连。图5-2-17b所示为点浇口的另一种形式,圆锥形的小端有一端直径为d、长度为l的浇口与塑件相连,但这种形式的浇口直径d不能太小,浇口长度l也不能太长,否则脱模时浇口凝料会断裂而堵塞浇口,影响正常的注射生产。上述两种形式的点浇口制造方便,但去除浇口时容易损伤塑件,浇口也容易磨损,仅适于批量不大的塑件成型和流动性好的塑料。图5-2-17c所示为圆锥形小端带有圆角的形式,其截面积相应增大,塑料冷却减慢,注射过程中型芯受到的冲击力要小一些,但加工不如上述两种方便。图5-2-17d所示为点浇口底部增加一个小凸台的形式,其作用是保证脱模时浇口断裂在凸台小端处,从而使塑件表面不受损伤,但塑件表面遗留有高起的凸台,影响其表面质量,为了防止这种缺陷,在设计时可让小凸台低于塑件的表面。图5-2-17e是适用于一模多腔或一个较大塑件多个点浇口的形式。
点浇口的各种尺寸如图5-2-17所示,d=0.5~1.5mm,最大不超过2mm,l=0.5~2mm,常取1.0~1.5mm,l0=0.5~1.5mm,l1=1.0~2.5mm,α=6°~15°,β=60°~90°。点浇口的直径也可以用下面的经验公式计算:
(5-2-8)
式中 d——点浇口的直径,mm;
δ——塑件在浇口处的壁厚,mm;
A——型腔表面积,mm2。
采用点浇口进料的浇注系统时,在定模部分必须增加一个分型面,用于取出浇注系统的凝料。

图5-2-17 点浇口的各种形式
点浇口派生出潜伏浇口、牛角浇口。
潜伏浇口
潜伏浇口又称剪切浇口,由点浇口变异而来。这类浇口的分流道位于模具的分型面上,而浇口却斜向开设在模具的隐蔽处。塑料熔体通过型腔的侧面或推杆的端部充入型腔,因而塑件外表面不受损伤,不致因浇口痕迹而影响塑件的表面质量与美观效果。潜伏浇口的形式如图5-2-18所示。图5-2-18a所示为浇口开设在定模部分的形式;图5-2-18b所示为浇口开设在动模部分的形式;图5-2-18c所示为浇口开设在推杆的上部而进料口在推杆上端的形式。

图5-2-18 潜伏浇口的形式
潜伏浇口一般是圆形截面,其尺寸设计可参考点浇口。潜伏浇口的锥角β取10°~20°,倾斜角α为45°~60°,推杆上进料口宽度为0.8~2mm,视塑件大小而定。潜伏浇口与型腔相连时有一定角度,形成了能切断浇口的刃口,这一刃口在脱模或分型时形成的剪切力可将浇口自动切断,不过,对于较强韧的塑料则不宜采用。
综上所述,不同的浇口形式对塑料熔体的充填特性、成型质量和塑件的性能会产生不同的影响。各种塑料因其性能的差异而对不同形式的浇口有不同的适应性,设计模具时可参考表5-2-2所列部分塑料所适应的浇口形式。需要指出的是,表5-2-2仅是生产经验的总结,如果针对具体生产实际,能处理好塑料的性能、成型工艺条件及塑件的使用要求,即使采用了表中所列出的不适应的浇口形式,仍有可能取得注射成型的成功。
表5-2-2 常用塑料所适应的浇口形式
浇口形式 塑料种类 | 直接浇口 | 侧浇口 | 平缝浇口 | 点浇口 | 潜伏浇口 | 环形浇口 |
硬聚氯乙烯(HPVC) | + | + |
|
|
|
|
聚乙烯(PE) | + | + |
| + |
|
|
聚丙烯(PP) | + | + |
| + |
|
|
聚碳酸脂(PC) | + | + |
| + |
|
|
聚苯乙烯(PS) | + | + |
| + | + |
|
橡胶改性苯乙烯 |
|
|
|
| + |
|
聚酰胺(PA) | + | + |
| + | + |
|
聚甲醛(POM) | + | + | + | + | + | + |
丙烯腈一苯乙烯 | + | + |
| + |
|
|
ABS | + | + | + | + | + | + |
丙烯酸酯 | + | + |
|
|
|
|
注:“+”表示塑料适用的浇口形式。
该文章所属专题:塑料模具设计教程
5-2-1-5 浇口位置的选择与浇注系统的平衡
一 浇口位置的选择
如前所述,浇口的形式很多,但无论采用什么形式的浇口,其开设的位置对塑件的成型性能及成型质量影响都很大,浇口位置选择不当会使塑件产生变形、熔接痕、凹陷、裂纹等缺陷,另外,浇口位置的不同还会影响模具的结构。因此,合理选择浇口的开设位置是提高塑件质量的一个重要设计环节。
在选择浇口位置时,需要根据塑件的结构、质量要求与成型工艺条件等综合进行考虑,一般应遵循以下原则:
(1)尽量缩短熔体的流动距离
浇口位置的选择应保证熔体迅速、均匀地充填模具型腔,尽量缩短熔体的流动距离,这对大型塑件更为重要。
(2)避免熔体破裂现象引起塑件的缺陷
小的浇口如果正对着一个宽度和厚度较大的型腔,则熔体经过浇口时,由于受到很高的剪切力,将产生喷射和蠕动等熔体断裂现象。有时塑料熔体还会直接从型腔的一端喷射到型腔的另一端,造成折叠,在塑件上产生波纹状痕迹或其它表面疵瘢缺陷。要克服这种现象,可适当地加大浇口的截面尺寸,或采用冲击型浇口(浇口对着大型芯)等措施,以避免熔体破裂现象的产生。

(3)浇口应开设在塑件壁厚处
当塑件的壁厚相差较大的,若将浇口开设在塑件壁薄处,这时塑料熔体进入型腔后,不但流动阻力大,而且还易冷却,影响熔体的流动距离,难以保证充满整个型腔。从收缩角度考虑,塑件壁厚处往往是熔体最晚固化的地方,如果浇口开设在壁薄处,那么塑件壁厚的地方会因熔体收缩得不到补缩而形成表面凹陷或缩孔。为了保证塑料熔体顺利充填型腔,使注射压力得到有效地传递,且在熔体液态收缩时又能得到充分地补缩,浇口的位置一般应开设在塑件壁厚处。
(4)考虑分子定向的影响
塑料熔体在充填模具型腔期间,会在其流动方向上出现聚合物分子和填料的取向。垂直于流向和平行于流向之处的强度和应力开裂倾向是有差别的,往往垂直于流向的方位强度底,容易产生应力开裂,在选择浇口位置时,应充分注意这一点。图5-2-29所示的塑件,其底部圆周带有一金属环形嵌件,如果浇口开设在A处(直接浇口或点浇口),则此塑件使用不久就会开裂,这是因为塑料与金属环形嵌件的线收缩系数不同,嵌件周围的塑料层有很大的周向应力;若浇口开设在B处(侧浇口),聚合物分子则会沿塑件圆周方向定向,可使应力开裂现象大为减少。
(5)减少熔接痕,提高熔接强度
由于浇口位置的原因,塑料熔体充填型腔时会造成两股或两股以上的熔体料流的汇合,汇合之处料流前端是气体且温度最低,所以在塑件上就会形成熔接痕。熔接痕部位会降低塑件的熔接强度,影响塑件外观,在成型玻璃纤维增强塑件时这种现象尤其严重。因此,如无特殊需要最好不要开设一个以上的浇口,以免增加熔接痕。如图5-2-19所示的方环形塑件,如按图5-2-19a所示开设两个侧浇口,在塑件上就有两处可能会产生熔接痕;如按图5-2-19b所示开设一个侧浇口,侧只有一处可能会产生熔接痕。圆环浇口的流动状态好,无熔接痕,如图5-2-20a所示;而轮幅式浇口有熔接痕,而且轮幅越多,熔接痕越多,如图5-2-20b所示,

图5-2-19 浇口位置对熔接痕的影响

图5-2-20 环形浇口与轮幅式浇口的熔接痕比较

图5-2-21 开设冷料穴提高熔接强度
1-分流道;2-浇口;3-溢流口;4-溢流槽
为了提高熔接痕强度,可以在料流汇合之处的外侧或内侧设置一冷料穴(溢流槽),将料流前端的冷料引入其中,如图5-2-21所示。
此外,浇口位置的选择还应考虑到实际塑料型腔的排气问题、塑件外观的质量问题等。
二 浇注系统的平衡
为了提高生产效率,降低成本,小型(包括部分中型)塑件往往采取一模多腔的结构形式。在这种结构形式中,若型腔是平衡式布置形式,则浇注系统中的塑料熔体能同时均匀地充填各个型腔;若型腔是非平衡式布置形式,则要通过调节浇口的尺寸,使各浇口的流量及成型工艺条件达到一致,这就是浇注系统的平衡,亦称浇口的平衡。
浇口平衡计算的思路是通过计算多型腔模具各个浇口的BGV(Balanced Gate Value)值来判断或计算。浇口平衡时,BGV值应符合下述要求:相同塑件的多型腔,各浇口计算出的BGV值必须相等;不同塑件的多型腔,各浇口计算出的BGV值必须与其塑件型腔的充填量成正比。
型腔浇口的BGV值为:
(5-2-9)
式中 Ag——浇口的截面积,mm2;
Lr——从主流道中心至浇口的流动通道的长度,mm;
Ls——浇口的长度,mm。
相同塑件多型腔成型的BGV值可用下式表示:
BGVa = BGVb (5-2-10)
不同塑件多型腔成型的BGV值可用下式表示:
(5-2-11)
式中 Wa、Wb——分别为型腔a、b的充填量(熔体质量或体积);
Aga、Agb——分别为型腔a、b的浇口截面积,mm2;
Lra、Lrb——分别为从主流道中心到型腔a、b的流动通道的长度,mm;
Lga、Lgb——分别为型腔a、b的浇口长度,mm。
在一般多型腔注射模浇注系统设计中,浇口截面通常采用矩形或圆形点浇口,浇口截面积Ag与分流道截面积Ar的比值应取:
Ag :A r=0.07~0.09 (5-2-12)
矩形浇口的截面宽度b为其厚度t的3倍,即
,各浇口的长度相等。在上述前提下,进行浇口的平衡计算。
[例]图5-2-22所示为相同塑件10个型腔的模具流道分布简图,各浇口为矩形窄浇口,各段分流道直径相等,分流道d r=6mm,各浇口的长度Lg=1.25mm,为保证浇口平衡进料,试确定浇口截面的尺寸。

图5-2-22 浇口平衡计算实例
解:从图中5-2-22的型腔排布可看出,A2、B2、A4、B4型腔对称布置,流道的长度相同;A3、B3、A5、B5对称相同;A1、B1对称相同。为了避免两端浇口和中间浇口的截面相差过大,可以A2、B2、A4、B4为基准,先求出这两组浇口的截面尺寸,再求另外三组浇口的截面尺寸。
(1)计算分流道截面积A r
=
mm2=28.27mm2
(2)计算基准浇口A2、B2、A4、B4这两组浇口的截面尺寸(取Ag=0.07A r)
由 ![]()
求得
![]()
(3)计算其它三组浇口的截面尺寸
根据BGV值相等原则:

求得
![]()
![]()
把上述计算结果列于表5.3中,用以比较。
表5-2-3 平衡后的各浇口尺寸 mm
型 腔 浇口尺寸 |
|
|
|
|
|
长 度Lg | 1.25 | 1.25 | 1.25 | 1.25 | 1.25 |
宽 度 | 1.47 | 2.43 | 2.82 | 2.43 | 2.82 |
厚 度 | 0.49 | 0.81 | 0.94 | 0.81 | 0.94 |
在实际的注射模设计与生产中,常采用试模的方法来达到浇口的平衡。
1)首先将各浇口的长度、宽度和厚度加工成对应相等的尺寸。
2)试模后检验每个型腔的塑件质量,特别要检查晚充满型腔的塑件是否出现因补缩不足所产生的缺陷。
3)将晚充满的塑件有补缩不足缺陷的型腔浇口宽度略微修大。尽可能不改变浇口厚度,因为浇口厚度的改变对压力损失较为敏感,浇口冷却固化的时间也会前后不一致。
4)用同样的工艺方法重复上述步骤直至塑件质量满意为止。
在上述试模的整个过程中,注射压力、熔体温度、模具温度、保压时间等成型工艺参数应与正式批量生产时的工艺条件相一致。
5-2-1-6 冷却穴和拉料杆的设计
冷料穴是浇注系统的结构组成之一。冷料穴的作用是容纳浇注系统流道中料流的前锋冷料,以免这些冷料注入型腔,既影响熔体充填的速度,又影响成型塑件的质量。主流道末端的冷料穴除了上述作用外,还便于在该处设置主流道拉料杆,注射结束模具分型时,在拉料杆的作用下,主流道凝料从定模浇口套中被拉出,最后由推出机构将塑件和浇注系统凝料一起推出模外。

图5-2-23 主流道冷料穴和拉料杆的形式
主流道拉料杆有两种基本形式。
1.适用于推件杆脱模的拉料杆
推杆形式的拉料杆固定在推杆固定板上,Z字形拉料杆是最常用的一种形式,其典型结构形式如图5-2-23a所示,分型时依靠Z字形钩将主流道凝料拉出浇口套,推出机构带动拉料杆将主流道凝料推出模外,但推出后由于钩子的方向性而不能自动脱落,需要人工取出。图5-2-23b和图5-2-23c所示分别为在动模板上开设的反锥度冷料穴和浅圆环槽冷料穴的形式,它们的后面设置有推杆,在分型时靠动模板上的反锥度穴和浅圆环槽的作用将主流道凝料拉出浇口套,推出时靠后面的推杆强制将其推出。
2. 适用于推件板脱模的拉料杆
适用于推件板脱模的拉料杆固定在动模板上,其典型的形式是球字头拉料杆,如图5-2-23d所示,分型时靠头部凹下去的部分将主流道凝料从浇口套中拉出,然后在推件板推出时,将主流道凝料从拉料杆的头部强制推出。图5-2-23e所示为菌形头拉料杆,其工作原理同球字头拉料杆。图5-2-23f是靠塑料的收缩包紧力使主流道凝料包紧在中间拉料杆(带有分流锥的型芯)上以及靠环形浇口与塑件的连接将主流道凝料从浇口套拉出,然后靠推件板将塑件和主流道凝料一起推出模外。
在以上各种形式的拉料杆中,图5-2-23b~f的形式,主流道凝料都能在推出时自动脱落。
该文章所属专题:塑料模具设计教程
5-2-2 热流道浇注系统的设计
5-2-2-1 绝热流道设计
热流道浇注系统亦称无流道浇注系统,分为绝热流道和加热流道两种,是注射模浇注系统的重要发展方向。在美国、日本等工业发达国家,热流道模具技术已基本普及,在我国这种技术推广应用的程度也越来越高。热流道浇注系统与普通浇注系统的区别在于,在整个生产过程中,浇注系统内的塑料始终处于熔融状态,压力损失小,可以对
1;所有标注为智造资料网zl.fbzzw.cn的内容均为本站所有,版权均属本站所有,若您需要引用、转载,必须注明来源及原文链接即可,如涉及大面积转载,请来信告知,获取《授权协议》。
2;本网站图片,文字之类版权申明,因为网站可以由注册用户自行上传图片或文字,本网站无法鉴别所上传图片或文字的知识版权,如果侵犯,请及时通知我们,本网站将在第一时间及时删除,相关侵权责任均由相应上传用户自行承担。
[complaint:内容投诉]
智造资料网打造智能制造3D图纸下载,在线视频,软件下载,在线问答综合平台 » 塑料模具设计教程_5-2浇注系统及排溢系统设计(图文教程)

