第七章 机件表达方法
第一讲 基本视图
1.知识点
(1)六个基本视图;(2)局部视图;(3)斜视图
2.教学设计:首先用动画演示六个基本视图的形成,然后介绍六个基本视图的配置,再结合实物模型讲解如何用恰当的视图表示物体的形状。局部视图和和斜视图采用模型和虚拟现实讲解,强调概念、画法、标记。
3.课前准备:准备模型、熟悉课件。
4.教学内容
(1)六个基本视图

图7-1六个基本视图

图7-2六个基本视图的配置
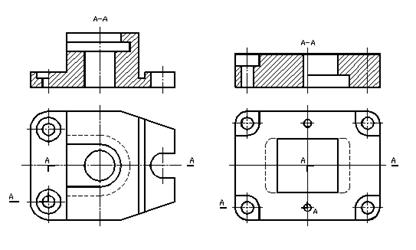
【例】阀体的表达方法


图7-3阀体
注意虚线的省略
(2)局部视图

图7-4局部视图
(3)斜视图

图7-5斜视图

该文章所属专题:AutoCAD机械制图教程
第二讲 剖视图(一)
1.知识要点
(1)剖视图的概念;(2)剖视图的标记;(3)剖视图的画法

2.教学设计:利用Flansh动画讲解剖视图的概念,对剖视图的标记要逐条讲解省略的规则,要让同学记好笔记,对阶梯孔、肋板的剖视图画法是该章的难点,要利用仿真模型把道理讲清,还要让同学在课堂上做适当的练习。
3.课前准备
若教研室有适当的模型要用模型讲解阶梯孔和肋板的画法,也可以用模型和仿真模型讲解,课前要熟悉教研室的模型和课件。
4.教学内容
(1)剖视图的概念

图7-7剖视图的概念
(2)剖视图的标记
图7-8剖视图的标记
(3)剖视图的画法
阶梯孔的剖视图画法
[例1]图7-9所示的机件,研究阶梯孔的剖视图画法。
【分析】内孔为阶梯孔时,在剖视图上,阶梯孔台阶面的投影是连续的,初学制图的同学,经常把阶梯孔处画成断开的,这是一个非常容易犯的错误,希望引起足够的重视。从立体图上看,剖开后虽然剖面处是断开的,但后面还有半个环形平面。

图7-9阶梯孔的剖视图画法
肋板的剖视图画法
[例2]如图7-10所示,研究三棱柱肋板的画法。
【分析】机件上的三棱柱肋板起加强机件强度和刚度作用的,在主视图中,剖切平面平行于肋板,根据国标规定,在剖视图上肋板的投影不画剖面线,并用粗实线将肋板与其相邻部分分开。需要注意的是,剖开部分的肋板轮廓线为圆柱体的转向轮廓线,半剖视图中若内部形体结构已表达清楚,则外形部分不画虚线。

图7-10三棱柱肋板的剖视图画法
[例3]如图7-11所示,分析轴承支架肋板的剖视图画法。
【分析】在俯视图上剖切平面和十字形肋板垂直,所以要画剖面线,在左视图上,剖切平面和一个肋板垂直和另一个肋板平行,所以一个肋板画剖面线,另一个不画剖面线。因为铸件的一些表面没有加工,所以存在铸造圆角,

图7-11十字形肋板的剖视图画法
5.本讲作业习题集上的相关题目 该文章所属专题:AutoCAD机械制图教程
第三讲 剖视图
1.知识要点
(1)单一剖面的全剖视图;(2)阶梯全剖视图;(3)旋转全剖视图;(4)半剖视图
(5)局部剖视图
2.教学设计:本讲的内容较多,不必按教材上的分类方法详细介绍剖视图的分类,只需按常用的几种剖视图有易到难的讲解即可,要侧重讲解每种方法的概念、画法、标记和应用。虚线的省略是本讲的难点,要告诉同学剖视图上一般不画虚线,此外,应继续强调形体分析法和投影。
3.课前准备:收集一些生产上使用的图纸,尽量各种剖视的都有,将这些图纸镶在镜框中,课后挂在制图教室。
4.教学内容
(1)单一剖面的全剖视图

图7-12泵盖
(2)梯梯全剖视图
阶梯全剖视图的概念

图7-13阶梯剖
【例】

图7-14阶梯全剖视图
不完整要素的表达方法

错 对
图7-15不完整要素的表达方法
(3)转全剖视图
当用一个剖切平面不能通过机件的各内部结构,而机件在整体上又具有回转轴时,可用两个相交的剖切平面剖开机件,然后将剖面的倾斜部分旋转到与基本投影面平行,然后进行投影,这样得到的视图称为旋转全剖视图。旋转全剖视图的剖切标记不能省略。如图7-16所示。

图7-16旋转全剖视图
【例】

图7-17连杆

图7-18连杆旋转剖视图
(4)半剖视图
当机件具有对称平面(或基本对称)时,在垂直于对称平面的投影面上,以对称中心线为界,一半画成剖视,另一半画成视图,称为半剖视图。半剖视图具有既表示物体的内部结构,又表示外形的特点。在半剖视图的外形部分不必画出虚线,但要画出回转孔的中心线。半剖视图的剖切标记和全剖视图的剖切标记相同,当平行于投影面的剖面没有通过物体的对称平面时,剖切标记不能省略。如图7-19中,主视图的剖切标记可省,俯视图的剖切标记不能省略。


图7-19半剖视图
(5)局部剖视图
用剖切平面剖开机件的局部,假想将一部分折断,然后向投影面投影,所得视图称为局部剖视图。折断后所形成的裂纹的投影用波浪线表示,所以,波浪线遇到孔槽要断开。此外,波浪线不能与视图上的其它图线重合,但允许将回转体的轴线作为局部剖视图和视图的分界线。如图7-20所示。局部剖视图应用比较灵活,既可以表达物体上局部孔槽的结构,又可以保留需要表达的外形,所以应用非常广泛。

图7-20局部剖视图 该文章所属专题:AutoCAD机械制图教程
第四讲 断面图和其他表达方法
1.知识要点:(1)断面图;(2)放大图;(3)简化画法;(4)剖视图的尺寸标注
2.教学设计:简化画法本讲的内容较杂,教材中有许多国家标准规定的画法介绍,教学中不一定面面俱到,可根据作业涉及到的表达方法有选择的讲解,没有介绍的内容今后在工作中若遇到相关内容可查书或国家标准,所以从本讲之后要教会同学查阅相关手册。
3.教学内容
1.断面图:假想用剖切平面将机件某处切断,仅画出断面的图形称为断面图。断面图主要用来表示断面的形状。有移出断面和重合断面之分。
(1)移出断面图
移出断面图的轮廓线用粗实线绘制,画在视图的的外面,尽量配置在剖切位置的延长线上,一般情况下只须画出断面的形状,但是,当剖切平面通过回转曲面形成的孔或凹槽时,此孔或凹槽按剖视画,或当断面为不闭合图形时,要将图形画成闭合的图形。完整的剖面标记三部分组成:粗短线表示剖切位置,箭头表示投影方向,拉丁字母表示断面图名称。当移出断面图配置在剖切位置的延长线上时,可省略字母;当图形对称(向左或向右投影得到的图形完全相同)时,可省略箭头;当移出断面图配置在剖切位置的延长线上,且图形对称时,可不加任何标记。如图7-21所示。

图7-21移出断面图
移出断面图也可以画在视图的中断处,此时若剖面图形对称,可不加任何标记,若剖面图形不对称,要标注剖切位置和投影方向。当采用一组相交剖切平面时,可用点画线表示剖面位置,而剖面图用波浪线断开。为了画图方便,在不致引起误会的情况下,可将剖面图旋转一定的角度(小于45°)将图形转正,此时要加注旋转标记。如图7-22所示。

图7-22移出断面图
(2)重合断面图
剖切后将断面图形重叠在视图上,这样得到的剖面图叫重合断面图。重合断面图的轮廓线要用细实线绘制,而且当断面图的轮廓线和视图的轮廓线重合时,视图的轮廓线应连续画出,不应间断。当重合断面图形不对称时,要标注投影方向和断面位置标记,如图7-23所示。

图7-23重合断面图
2.局部放大图
将机件的局部结构,用大于原图形所采用的比例画出的图形,称为局部放大图。局部放大图可采用原图形所采用的表达方法,也可采用与原图形不同的表达方法,如原图形为视图,局部放大图为剖视图。绘制局部放大图时,除螺纹、齿轮、链轮的齿形外,应用细实线圈出被放大的部位,当同一机件上有几个放大图时,必须用罗马数字依次为被放大的部位编号,并在局部放大图的上方注出相应的罗马数字和所采用的比例。如图7-24所示。

图7-24局部放大图
3.简化画法
当机件上具有若干相同的结构(如齿、槽等),并按一定的规律分布时,只需画出几个完整的结构,其余用细实线连接,并在图上注明该结构的总数。若干直径相同的且成规律分布的孔,可以只画出几个,表示清楚其分布规律,其余只需用点画线表示其中心位置,并注明孔的总数。如图7-25所示。

图7-25简化画法(1)
网状物、编织物或机件上的滚花部分,可在轮廓线附近用细实线示意画出,并在视图上或技术要求中注明这些结构的具体要求。当视图不能充分表达平面时,可在图形上用相交的两条细实线表示平面。机件上的相贯线、截交线等,当交线和轮廓线非常接近,并且一个视图中已经表示清楚时,其它视图上可省略或简化。在不致引起误解时,零件图中的小圆角或小倒角允许省略不画,但必须注明尺寸或在技术要求中加以说明。如图图7-26所示。

图7-26简化画法(2)

较长机件(轴、杆、型材等)沿长度方向的形状一致或按一定规律变化时,可断开后缩短绘制,但长度尺寸必须按实际尺寸注出。当机件回转体上均匀分布的孔、肋板等结构不处于剖切平面上时,可将这些结构旋转到剖切平面上,按剖视绘制。在不致引起误解时,对于对称机件的视图可只画出一半或四分之一,并在对称中心线的两端画出两条与其垂直的平行细实线。如图7-27所示
右图7-27简化画法(3)
4.剖视图的尺寸标注
在剖视图上标注尺寸时,应注意将外形尺寸和内形尺寸尽量分注在视图两侧,如图图7-28所示。半剖视图不完整结构的尺寸,可只画一条尺寸界线,尺寸线超过对称中心线。如图7-29所示。

图7-28全剖视图的尺寸标注

图7-29半剖视图的尺寸标注 该文章所属专题:AutoCAD机械制图教程
第五讲 综合举例
1.知识要点
例1轴承盖
例2轴承座
例3泵体
2.教学设计:本讲有浅入深的介绍三个不同类型的机件表达方法,教学中先给出模型或仿真模型,让学生分组讨论表达方法,用草图表达出来,由教师评价各组方案的优缺点,有错误的提出来,最后教师总结出测绘模型的步骤、分析思路、视图绘制步骤和尺寸标注等。课后作业为测绘实物模型,由学生自己选择比例、表达方案并标注尺寸。
3.课前准备
准备好图纸和模型,由教师准备统一的幅面图纸,模型至少3人一个,一个班给3至5套量具。,
4.教学内容
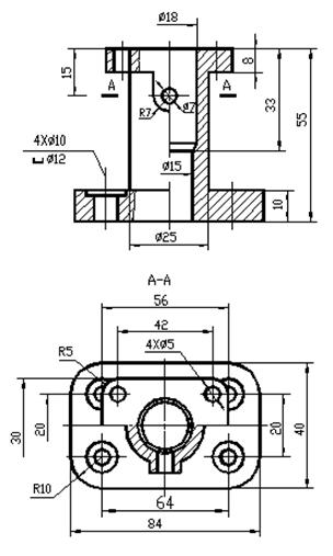
【例1】测绘图7-30所示轴承盖,用适当的表达方法表示其结构,并标注尺寸。

图7-30轴承盖轴测图
【例2】测绘图7-31所示的轴承座

图7-30轴承盖座
【例3】泵体

图7-31油泵体轴测图
该文章所属专题:AutoCAD机械制图教程
1;所有标注为智造资料网zl.fbzzw.cn的内容均为本站所有,版权均属本站所有,若您需要引用、转载,必须注明来源及原文链接即可,如涉及大面积转载,请来信告知,获取《授权协议》。
2;本网站图片,文字之类版权申明,因为网站可以由注册用户自行上传图片或文字,本网站无法鉴别所上传图片或文字的知识版权,如果侵犯,请及时通知我们,本网站将在第一时间及时删除,相关侵权责任均由相应上传用户自行承担。
[complaint:内容投诉]
智造资料网打造智能制造3D图纸下载,在线视频,软件下载,在线问答综合平台 » 七、机件表达方法|AutoCAD机械制图教程(图文教程)

